Tažné válcové pružiny

Tažné válcové pružiny vyrábíme podle standardizovaných výkresů, podle dodaného vzoru a také atypických rozměrů přímo na míru podle přání zákazníka.
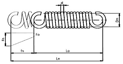
Při objednávání tažných pružin, kdy neznáte číslo výkresu pružiny, musíme pro výpočet znát níže uvedené hodnoty:
d - průměr drátu pružiny, D1 - vnější průměr pružiny, nebo D2 - malý průměr pružiny, případně střední průměr D, Lo - volná výška pružiny, F1 - pracovní zatížení při výšce L1, případně Fmax - maximální zatížení při výšce Lmax.
Zde uvádíme limitní rozměry pro jednotlivé typy kuželových pružin tlačných:
- průměr drátu d = 1.5 - 15 mm
- volná výška Lo = max. 800 mm
